Выбрать город Санкт-Петербург Выбрать город
Почта
Напишите нам!
Телефон
Бесплатно по России
Телеграм
WhatsApp

Тройник с шаровым краном воздушника ППУ в Санкт-Петербурге

Тройники с шаровым краном воздушника ППУ в Санкт-Петербурге. Завод Альфа-тех Инвест предлагает тройники ППУ с воздушником для выпуска воздуха. Идеальное решение по обслуживанию трубопроводов. Изготавливаем изделия всех диаметров с различными типами защитных оболочек, включая тройники ППУ с краном ОЦ.

Гарантируем надежность конструкции и качество материалов. Доступные цены и сертификаты на всю продукцию в наличии. Доставка по России и СНГ.

Тройник с шаровым краном воздушника ППУ в Санкт-Петербурге вы можете заказать напрямую от изготовителя — «Альфа-тех Инвест». Мы предлагаем высококачественные трубы в ППУ-изоляции, а также фасонных изделий собственного производства. Наши тройники предназначены для эффективного решения задач в системах отопления и водоснабжения. Они изготовлены с использованием передовых технологий и лучших материалов, что гарантирует его превосходные эксплуатационные характеристики и долгий срок службы. Узнать подробности и оформить заказ вы можете по номеру телефона: 8 (800) 700-43-11.

Наш завод ООО «Альфа-тех Инвест» выполняет производство труб в ППУ изоляции, а также тройники с шаровым краном воздушника ППУ с 2006 года и уверенно себя зарекомендовала на рынке данной продукции.

Мы предоставляем гарантию на все произведенные нами изделия. Также несколько параллельных собственных производственных линий позволяют нам изготавливать также тройники с краном ППУ ПЭ и другие фасонные изделия.

Минимально возможные сроки изготовления партий любых объемов, надлежащий контроль качества, благодаря проверкам на каждом этапе реализации, четко отлаженная работа логистической линии, позволяют нам быть впереди конкурентов уже в начале выполнения заказа.

Тройник с шаровым краном воздушника ППУ
Тройник с шаровым краном воздушника ППУ

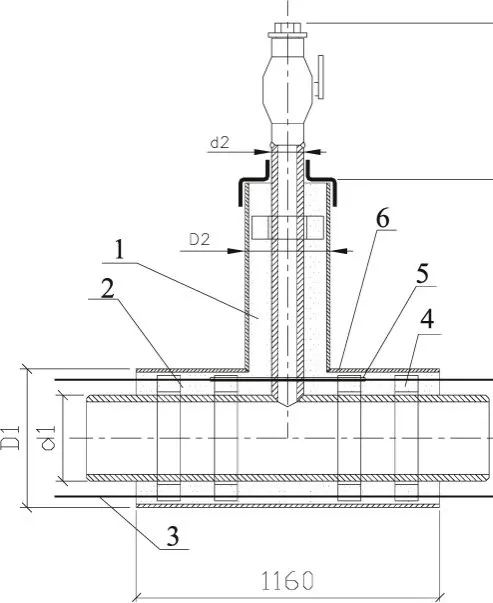
Описание:

Пример условного обозначения тройник с шаровым краном воздушника

Условные обозначения:

  1. изоляция из ППУ;
  2. центрирующая опора;
  3. проводник—индикатор СОДК;
  4. стальная труба;
  5. электроизоляционная трубка (для труб со стальной оболочкой);
  6. оболочка;
Получить каталог
трубы ППУ, фасонные изделия, комплектующие, многогранные опоры и металлоконструкции

Для чего используют тройник с шаровым краном воздушника

Стальной тройник с шаровым краном воздушника ППУ представляет — это фитинг, предназначенный для изменения направления потока рабочей среды в трубопроводах и для выпуска воздуха из них. Деталь имеет три патрубка: два — для прохождения основной рабочей среды, а один — с шаровым краном для выпуска воздуха. Оболочка из ППУ (пенополиуретана) обеспечивает теплоизоляцию тройника, предотвращая потери тепла и образование конденсата.

Тройник с шаровым краном воздушника ППУ широко используется в различных системах трубопроводов, включая:

  • системы отопления и горячего водоснабжения;
  • системы кондиционирования и вентиляции;
  • трубопроводы сжиженных и газообразных углеводородов;
  • трубопроводы пищевой и химической промышленности.

ППУ-тройник с воздушником применяется для создания отводов в системах трубопроводов, а также для установки воздушников, которые необходимы для удаления воздуха из системы. Шаровой кран в составе тройника от завода «Альфа-тех Инвест» обеспечивает возможность легкого и быстрого перекрытия потока, что особенно важно при проведении ремонтных или профилактических работ.

Таблица: тройник с шаровым краном воздушника

d1 d2 H H1 d1 d2 H H1
32 25 541 361 325 32 690 510
38 25 544 364 426 32 740 560
45 25 548 368 530 50 790 610
50 32 554 375 630 50 840 660
76 32 560 380 720 50 870 685
89 32 570 390 820 50 940 755
108 32 580 400 920 50 985 805
133 32 595 425 1020 50 1035 855
159 32 605 425 1220 50 1135 955
219 32 635 455 1420 50 1235 1055
273 32 635 480

ГОСТы по производству тройников ППУ с краном

Качество стальных тройников с ППУ регламентируется следующими ГОСТами РФ:

  • ГОСТ 17376-2001 устанавливает нормы и указания для деталей соединения труб бесшовным способом, в том числе тройников, изготовленных из углеродистой или низколегированной стали, охватывая аспекты размеров, технических параметров и процедур проверки.
  • В ГОСТ 30732-2020 прописаны критерии для стальных труб и соединительных частей, включая тройники, обладающих теплоизоляцией на основе пенополиуретана с наружной защитной оболочкой, устанавливая их технические требования, а также нормы установки и использования.
  • ГОСТ 24856-2014 регламентирует параметры и классификацию трубопроводной запорной арматуры, включая воздушные клапаны, уточняя их основные характеристики, размеры, требования к дизайну, испытательные методы и условия эксплуатации.

Тройники ППУ ОЦ с краном от ООО «Альфа-тех Инвест» изготавливаются из высококачественной стали методом литья или штамповки. Затем они проходят механическую обработку, включая нарезание резьбы и шлифовку поверхностей, заливку ППУ.

Реализованные проекты

Труба в ППУ-изоляции
Труба в ППУ-изоляции

Произведена прокладка и успешно запущены в работу трубопроводы в ППУ-изоляции на АЗС Магистраль М-7 Волга 846 км.

Трубы ППУ в изоляции
Трубы ППУ в изоляции

Произведена прокладка и успешно запущены в работу трубопроводы в ППУ-изоляции в Казань, ул.Горького, д.10

Трубопровод в ППУ-изоляции
Трубопровод в ППУ-изоляции

Произведена прокладка и успешно запущены в работу трубопроводы в ППУ-изоляции в Казань, ул.Галактионова, д.3А

Трубы в ППУ-изоляции
Трубы в ППУ-изоляции

 Произведена прокладка и успешно запущены в работу трубопроводы в ППУ-изоляции в Казань, ул.Зеленая, д.1

Труба ППУ
Труба ППУ

Произведена прокладка и успешно запущены в работу трубопроводы в ППУ-изоляции в Казань, ул.Лесгафта, д. 24-2

Трубопровод ППУ
Трубопровод ППУ

Произведена прокладка и успешно запущены в работу трубопроводы в ППУ-изоляции в Казань, ул.Вишневского, д.51-3

Прокладка трубопровода
Прокладка трубопровода

Произведена прокладка и успешно запущены в работу трубопроводы в ППУ-изоляции в Казань, ул.Тополевая, д.8

Прокладка трубопровода ППУ
Прокладка трубопровода ППУ

Произведена прокладка и успешно запущены в работу трубопроводы в ППУ-изоляции  в г. Казань, ул.Миля д.63А

Прокладка трубопровода ППУ- изоляции
Прокладка трубопровода ППУ- изоляции

Произведена прокладка и успешно запущены в работу трубопроводы в ППУ-изоляции в г.Уфа, пр.Дружбы народов, стройка около д.53

Прокладка трубопровода
Прокладка трубопровода

 Произведена прокладка и успешно запущены в работу трубопроводы в ППУ-изоляции в г.Набережные Челны пр.Набережночелнинский, д.19

Трубопровод ППУ-изоляции
Трубопровод ППУ-изоляции

Произведена прокладка и успешно запущены в работу трубопроводы в ППУ-изоляции в г.Набережные Челны, ЖК Красные Челны пос. 3ЯБ Комсомольский р-н

Разновидности шаровых ППУ кранов воздушника

В зависимости от преследуемых целей и материалов, изначально подготовленных для реализации и построения трубопроводной магистрали, используются следующие основные два вида:

  • Тройник ППУ с шаровым краном воздушника ПЭ – предназначен для трубопроводов, защитная оболочка которых выполнена из полиэтиленового материала. Применяются в большинстве случаев для прокладки подземных каналов, в меньшей степени поверхностных, так как защищающий слой менее подвержен воздействию агрессивных почвенных сред и химически активных реагентов.
  • Тройник с шаровым краном воздушника ППУ ОЦ – применяется при прокладке, защищающая оболочка труб которых состоит из оцинкованного слоя. Чаще всего используются в трубных магистралях такого же типа. Ставятся в основном при прокладке наземных видов трасс, потому что обеспечивают наибольшую защиту от механических повреждений и климатического воздействия.

Производство других фасонных элементов

Кроме тройников ООО «Альфа-тех Инвест» может также выполнять заказать по производству отводов и следующих типов изделий:

  • Концевой элемент трубопровода с кабелем вывода - фасонное комплектующее, к которому напрямую происходит подключение контрольного прибора за состоянием ППУ слоя трубной изоляции
  • Элементы трубопроводов с кабелем вывода - комплектующие, предназначенные для последующей установки сигнального кабеля для своевременного реагирования при прорыве.

Как сделать заказ

Чтобы приобрести продукцию от ООО Альфа-тех Инвест, вам необходимо связаться с нашим отделом продаж по телефону:8 (800) 700-43-11, либо отправить запрос через форму обратной связи или через чат.

Купить тройник с шаровым краном воздушника ППУ в Санкт-Петербурге

Наш завод предлагает купить тройник с шаровым краном воздушника ППУ на оптимальных условиях. На сайте вы можете ознакомиться с широким ассортиментом, подобрать все необходимое для реализации вашего проекта. Если вам требуется дополнительная информация: 

Напишите нам!
Бесплатно по России
Вопросы и ответы
На каких условиях оплаты вы работаете?
Открыть/Закрыть
Стандартные условия — предоплата 100%. Для постоянных клиентов и крупных серийных заказов условия обсуждаются индивидуально.
Какие сроки изготовления вашей продукции?
Открыть/Закрыть
Сроки изготовления определяются индивидуально для каждого заказа. В среднем это от 5 до 14 рабочих дней.
Можете ли вы организовать доставку продукции до клиента?
Открыть/Закрыть
Мы сотрудничаем с множеством логистических компаний. Наши менеджеры рассчитают стоимость продукции с доставкой в любой регион России. В коммерческое предложение входит расчет веса, объема и необходимого количества транспорта. Вы также можете самостоятельно организовать доставку.
Можно ли приехать на ваш завод на ознакомительную экскурсию?
Открыть/Закрыть
Да, мы приглашаем потенциальных клиентов на экскурсию. Вы сможете ознакомиться с нашим производством и увидеть процесс изготовления интересующей вас продукции. Наш завод находится по адресу: Казань, ул. Михаила Миля, 53а.
Есть ли гарантия на вашу продукцию, и сколько она составляет?
Открыть/Закрыть
Мы предоставляем гарантию на производимую продукцию сроком до 30 лет.
Какие документы качества вы выдаете на производимую продукцию?
Открыть/Закрыть
На каждую партию отгружаемой продукции мы выдаем сертификат качества и паспорт.
WhatsApp Телеграм Телефон
Архангельская Область
Архангельск
Астраханская Область
Астрахань
Башкортостан Республика
Уфа
Владимирская Область
Владимир
Волгоградская Область
Волгоград
Воронежская Область
Воронеж
Кировская область
Киров
Кировская Область
Киров
Коми Республика
Сыктывкар
Костромская Область
Кострома
Красноярский Край
Красноярск
Ленинградская Область
Санкт-Петербург
Мордовия Республика
Саранск
Нижегородская Область
Нижний Новгород
Новосибирская Область
Новосибирск
Омская Область
Омск
Пензенская Область
Пенза
Пермский Край
Пермь
Ростовская Область
Ростов-на-Дону
Рязанская Область
Рязань
Самарская Область
СамараТольятти
Саратовская Область
БалаковоСаратов
Свердловская Область
Екатеринбург
Тамбовская Область
Тамбов
Тверская Область
Тверь
Тюменская Область
Тюмень
Удмуртская Республика
Ижевск
Ульяновская Область
Ульяновск
Ханты-Мансийский Автономный округ - Югра Автономный округ
Сургут
Челябинская Область
Челябинск
Чувашская Республика - Чувашия
Чебоксары
Ярославская Область
Рыбинск
Наверх